  |
|

 |  |
| Группа " Гости" RSS | Воскресенье, 15.02.2026, 03:27 |
|
Ходовой свет
| |
| MIXOH | Дата: Понедельник, 11.03.2013, 17:26 | Сообщение # 1 |
Генерал-лейтенант
Группа: Проверенные
Сообщений: 758
Статус: 
| 1
.
|
| |
| | | |
| pire111 | Дата: Вторник, 12.03.2013, 03:25 | Сообщение # 4 |
Из старожилов ...
Группа: Проверенные
Сообщений: 4834
Статус: 
| ну вобщем то работает, на заведённом двигателе один ближний свет, при включении дальнего ближний отключается, щиток габаритные огни и подсветка не светится.
Transit 92г 130L 2.5D TCI Lucas 115 л.с 85кВ R-16 4.11 Кондиционер ABS+TCS ПРОДАН Skype-pire111
|
| |
| | |
| televizor | Дата: Среда, 30.10.2013, 09:55 | Сообщение # 6 |
Среди телевизоров ПЕРВЫЙ, нах... Турбо-телек.
Группа: Проверенные
Сообщений: 8088
Статус: 
| Цитата pire111 (  ) когда собаки делать нечего она........ Термо клея не пожалел. Лови +.
Ford transit ДТ 86г и 96г.
|
| |
| |
| MIXOH | Дата: Среда, 30.10.2013, 11:25 | Сообщение # 7 |
Генерал-лейтенант
Группа: Проверенные
Сообщений: 758
Статус: 
| pire111, Извращенец, таки воплотил..... Не хочу сейчас вдаваться в подробности.....задержка отключения чем-то задается? Негоже если на каждом светофоре оно тухнуть будет.....
.
|
| |
| |
| Кен | Дата: Среда, 30.10.2013, 11:28 | Сообщение # 8 |
Из старожилов ...
Группа: Администраторы
Сообщений: 8789
Статус: 
| Цитата MIXOH (  ) Негоже если на каждом светофоре оно тухнуть будет..... Хорррроший вопрос
Кен.
|
| |
| |
| MIXOH | Дата: Среда, 30.10.2013, 11:47 | Сообщение # 9 |
Генерал-лейтенант
Группа: Проверенные
Сообщений: 758
Статус: 
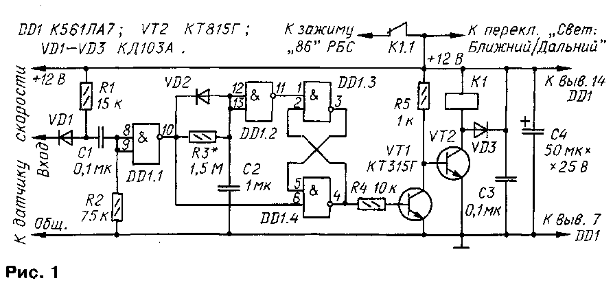
| Короче сам спросил, сам ответил Задержка отключения задается элементами С2 и R3, (величина R3 влияет на скорость заряда кондера, ну а емкость самого кондера естественно влияет на время его заряда), посему я бы увеличил задержку отключения......логичней и проще это сделать наверное просто увеличив емкость кондера, хотя может и параллельно с сопротивлением тоже можно поиграться. Как мне кажется пусть там даже в 30-40 секунд будет задержка (с учетом средних величин работы светофоров), ничего страшного, все одно ИМХО здесь больше важно не так отключение при остановке, как именно включение при начале движения.
.
Сообщение отредактировал MIXOH - Среда, 30.10.2013, 11:48 |
| |
| |
| pire111 | Дата: Среда, 30.10.2013, 12:49 | Сообщение # 10 |
Из старожилов ...
Группа: Проверенные
Сообщений: 4834
Статус: 
| televizor, MIXOH, спасибо за репу.Цитата MIXOH (  ) Задержка отключения задается элементами С2 и R3, (величина R3 влияет на скорость заряда кондера, ну а емкость самого кондера естественно влияет на время его заряда), посему я бы увеличил задержку отключения..... там по идеи не получится, ток как эта схемка собрана на отключения, то есть тока тронулся реле размыкается, когда ещё травил плату я этого не учёл. а задержку скорее всего можно сделать между транзистороми поставить ёмкость. на счёт задержки я много думал, и решил что она не нужна, а нужно сделать что бы при трогание фары загорелись и всё, так как любая задержка меня и других участников движения в пробки замучает, так же я решил главное реле за питать одним плюс от этого блока а минус взять с подфарников, для того что бы при включении подфарников тух свет, я думаю кто смыслит тот поймёт, но если чё потом подробнее объясню, и там же на выходе поставить диод на постояную задержку, но есть проблема. блок во время включения зажигания даёт временый импульс. в общем подробнее потом.
Transit 92г 130L 2.5D TCI Lucas 115 л.с 85кВ R-16 4.11 Кондиционер ABS+TCS ПРОДАН Skype-pire111
|
| |
| |
| K2 | Дата: Среда, 30.10.2013, 16:57 | Сообщение # 11 |
Из старожилов
Группа: Проверенные
Сообщений: 7936
Статус: 
| Толь, откуда столько времени свободного??? Я в шоке...
Мир всем!
|
| |
| |
| pire111 | Дата: Среда, 30.10.2013, 18:07 | Сообщение # 12 |
Из старожилов ...
Группа: Проверенные
Сообщений: 4834
Статус: 
| Цитата K2 (  ) Толь, откуда столько времени свободного??? Я в шоке... я тоже в шоке от безработицы  Добавлено (30.10.2013, 18:07) ---------------------------------------------
Цитата MIXOH (  ) Как мне кажется пусть там даже в 30-40 секунд будет задержка чёто не получается с задержкой, всё не так просто, при подаче на него питания он секунду не отключает реле, получается его функция изначально не включить а отключить.
Transit 92г 130L 2.5D TCI Lucas 115 л.с 85кВ R-16 4.11 Кондиционер ABS+TCS ПРОДАН Skype-pire111
|
| |
| |
| pire111 | Дата: Четверг, 31.10.2013, 14:25 | Сообщение # 13 |
Из старожилов ...
Группа: Проверенные
Сообщений: 4834
Статус: 
| схема была переделана, немного упростил её, сделал так что бы при движении она включилась и не выключалась. управления светом будит управляться отдельным реле. чтобы выключить при остановке можно просто моргнуть светом или включить и выключить подфарники. теперь при включенных габаритных огнях ходовые огни не горят, на блоке + 12 вольт должны быть постоянными.
Добавлено (31.10.2013, 14:25) --------------------------------------------- вся система установлена на машину. всё работает.
Transit 92г 130L 2.5D TCI Lucas 115 л.с 85кВ R-16 4.11 Кондиционер ABS+TCS ПРОДАН Skype-pire111
Сообщение отредактировал pire111 - Четверг, 31.10.2013, 14:51 |
| |
| |
| pire111 | Дата: Суббота, 02.11.2013, 20:34 | Сообщение # 14 |
Из старожилов ...
Группа: Проверенные
Сообщений: 4834
Статус: 
| 10 минут назад мне пришла ещё одна хорошая идея, вобщем стоил сигнализация с авто запуском и дистанционным запуском, так вот хоть я и сделал всё что бы машина не завелась на скорости, но как говорится лишний предохранитель не помешает. на сигнализации нашёл провод который программируется при отрицательном (минус) отменяет в миг запуск. припаяв провод к вот в этом месте показано на рисунке. проверка прошла удачно, сделав так что бы машина смогла завестись на скоросте машина больше 30 см с места не сдвинулась, так же проверил свой новый стартер, на ручнике который у меня работает на отлично ( сделанный по принцепу транзита после 2000года ) сдвигает машину на раз, так что зимой я не пропаду.
Transit 92г 130L 2.5D TCI Lucas 115 л.с 85кВ R-16 4.11 Кондиционер ABS+TCS ПРОДАН Skype-pire111
|
| |
| |
| Ботаник | Дата: Суббота, 12.09.2015, 22:11 | Сообщение # 15 |
Из старожилов ...
Группа: Проверенные
Сообщений: 4345
Статус: 
| Вчера на ночь рылся в закромах у АЛИБАБЫ и, соблазнившись солидной скидкой, заказал пару мощных (на 125 вт) светодиодных фонарей для авто- и мото-ТС (позиционируются как ДХО). Крепление разъёмное на трубу, т.е. предстоит как-то "колхозить". По электрике вопросы начну задавать после получения сего девайса (вчерне предполагаю отдельную цепь с реле и предохранителем, плюс отдельная включалка). А вот как уберечь такие цацки на машине уличного "хранения" (стояния-лежания)?......
FT 100S DOHC короткий, средний, красный (1998г.) ISUZU TROOPER (3,5л., 2001г.). Москва + д.Чащь Волоколамского района.
|
| |
| |
| finist07 | Дата: Воскресенье, 13.09.2015, 13:27 | Сообщение # 16 |
Из старожилов ...
Группа: Проверенные
Сообщений: 3692
Статус: 
| Цитата Ботаник (  ) (на 125 вт) скорее всего завышено,причем в даже в теории,по факту и реле не потребуется
FT100S,DOHC-2.0,NSF 99г.
|
| |
| |
| Ботаник | Дата: Пятница, 09.10.2015, 16:22 | Сообщение # 17 |
Из старожилов ...
Группа: Проверенные
Сообщений: 4345
Статус: 
| Сегодня таки получил новые "свето-глазки". Прилагаю потрет сих девайсов. Штуки прикольные. Продавец выложил фото моцика, у которого головной свет из 4-х таких "мини-прожекторов", смотрится классно (на мой "ботанический" взгляд). Проверил от выпрямителя в мастерской, как светит - ярко и сильно. Про дальность ничего сказать не могу, т.к.тестировал светильник в комнате. Теперь предстоит решать вопрос с креплением этих ходовых "огней". Штатное крепление предполагается на трубу, т.к. эти фонари в первую очередь для моциков-квадриков. Одну несложную конструкцию для самостоятельного изготовления я уже придумал (типа небольшого кенгурина под крепление на два болта, что под передним номерным знаком крепят бампер), надо изыскать время для воплощения в материале.
FT 100S DOHC короткий, средний, красный (1998г.) ISUZU TROOPER (3,5л., 2001г.). Москва + д.Чащь Волоколамского района.
|
| |
| |
| Кен | Дата: Пятница, 09.10.2015, 17:16 | Сообщение # 18 |
Из старожилов ...
Группа: Администраторы
Сообщений: 8789
Статус: 
| Цитата Ботаник (  ) Проверил от выпрямителя в мастерской, как светит - ярко и сильно. Прикольные, а пятно световое как выглядит.
Кен.
|
| |
| |
| Ботаник | Дата: Пятница, 09.10.2015, 17:39 | Сообщение # 19 |
Из старожилов ...
Группа: Проверенные
Сообщений: 4345
Статус: 
| Цитата Кен (  ) а пятно световое как выглядит. Фёдор, имеет вид КВАДРАТИКА (точнее яркий квадратик в ослабевающем круге), т.к. в основе один светодиод. Точно такой же можно видеть в однодиодных налобных фонариках с зумом. Если уж совсем интересно применительно к байку (но их крепят обычно на дуги безопасности),то на днях могу сфотографировать - двумя руками не очень удобно удерживать клеммы и одновременно фотографировать.
FT 100S DOHC короткий, средний, красный (1998г.) ISUZU TROOPER (3,5л., 2001г.). Москва + д.Чащь Волоколамского района.
|
| |
| |
| Ботаник | Дата: Пятница, 09.10.2015, 18:42 | Сообщение # 20 |
Из старожилов ...
Группа: Проверенные
Сообщений: 4345
Статус: 
| Фёдор,вот картинки работающего девайса и светового пятна.
FT 100S DOHC короткий, средний, красный (1998г.) ISUZU TROOPER (3,5л., 2001г.). Москва + д.Чащь Волоколамского района.
|
| |
| |
| televizor | Дата: Суббота, 10.10.2015, 13:47 | Сообщение # 21 |
Среди телевизоров ПЕРВЫЙ, нах... Турбо-телек.
Группа: Проверенные
Сообщений: 8088
Статус: 
| Ботаник, Сань прикольные дхо. Скинь в личку лоты продавана у которого покупал.
Ford transit ДТ 86г и 96г.
Сообщение отредактировал televizor - Суббота, 10.10.2015, 13:47 |
| |
| |
| Ботаник | Дата: Суббота, 10.10.2015, 16:13 | Сообщение # 22 |
Из старожилов ...
Группа: Проверенные
Сообщений: 4345
Статус: 
| Вова, сообщить могу только название фирмы: Best Selling LED Industry Co., Ltd. Добавлено (10.10.2015, 16:13) --------------------------------------------- Cсылки делать не умею. Брал по акции, пара обошлась в 31,87 бакса . Заказал 11.09, отправили 12.089, сообщение с почты получил 07.10. На АЛИЭКСПРЕСС поиск обозначаю ДХО - "дневные ходовые огни", тут-то ОНО и вываливается... ведро информации. Есть ведь модели с дополнительным режимом "стробоскопа", хотя совсем не уверен, что мне это нужно и можно... 
FT 100S DOHC короткий, средний, красный (1998г.) ISUZU TROOPER (3,5л., 2001г.). Москва + д.Чащь Волоколамского района.
|
| |
| |
| Ботаник | Дата: Воскресенье, 18.10.2015, 18:45 | Сообщение # 23 |
Из старожилов ...
Группа: Проверенные
Сообщений: 4345
Статус: 
| finist07, Костя, по этой ссылке у меня ничего не открывается. Объявленная продавцом мощность 125вт (!!!), пусть даже и китайских". Кроме того, я обычно шуршусь на русскоязычной версии АЛИЭКСПРЕСС. Сейчас посмотрю в "моих заказах" название товара. Добавлено (10.10.2015, 20:08) --------------------------------------------- finist07, 2 Pcs CREE US Car Motorcycles LED Fog Lights 125W 3000Lm..... Та же фирма башляет тот же комплект со скидкой в 60% за 28,67 бакса, что на 3,20 меньше уплаченного мной (акция продлится ещё пару дней, вроде бы).  Добавлено (18.10.2015, 18:45) --------------------------------------------- Эти ДХО ставить пока не буду,т.к. езжу только по освещенным улицам-дорогам. Зато поставил ранее купленные небольшие ДХО, завтра сфотографирую. Запутался в трех проводах, т.к. поставил переключатель со светодиодным индикатором, давно врезанный в штатную заглушку. Пришлось рисовать схемку...., но теперь таки всё включается. Морда лица у "ибусика" приобрела минимум индивидуальности. 
FT 100S DOHC короткий, средний, красный (1998г.) ISUZU TROOPER (3,5л., 2001г.). Москва + д.Чащь Волоколамского района.
|
| |
| |
| Ботаник | Дата: Понедельник, 19.10.2015, 15:50 | Сообщение # 24 |
Из старожилов ...
Группа: Проверенные
Сообщений: 4345
Статус: 
| Вот так выглядит теперь морда моего "ибусика"... и соответствующий переключатель на торпедо.
FT 100S DOHC короткий, средний, красный (1998г.) ISUZU TROOPER (3,5л., 2001г.). Москва + д.Чащь Волоколамского района.
|
| |
| |
| Кен | Дата: Понедельник, 19.10.2015, 19:13 | Сообщение # 25 |
Из старожилов ...
Группа: Администраторы
Сообщений: 8789
Статус: 
| Цитата Ботаник (  ) Вот так выглядит Да нормально выглядит, дешево и сердито, здесь уже про китайцев.
Кен.
|
| |
| |
| Статистика Форума |
| Сегодня нас посетили |
Инфо |
|
дней
|
|
| Автоклуб Форд Транзит © 2026 |
Хостинг от uCoz |
|